- Техподдержка
- Статьи
- Архив
- Водяной теплый пол

Водяной теплый пол

Водяные теплые полы прочно вошли в арсенал инженерного оборудования дома, благодаря созданию ими максимально комфортного для человека и домашних животных температурного режима в помещениях. Основным фактором, который обеспечивает надежность и эффективность системы теплого пола, является использование комплексной системы, поставляемой одним производителем. Это гарантирует полную совместимость всех элементов и возможность точного расчета температурных режимов. Практика показывает, что устройство теплых полов «на глазок» обходится заказчику в 1,5-2,3 раза дороже, чем грамотно спроектированная и налаженная система. Для возможности выполнения системы напольного отопления необходимо, чтобы помещение имело резерв по высоте для размещения «порога» теплого пола. Минимально требуемая высота конструкции теплого пола составляет 85 мм (без учета покрытия пола).

Способы раскладки петель теплого пола по помещению
змейка в комнатах неправильной формы, или имеющих особое предназначение. При такой конфигурации необходимо укладывать подающую трубу у наружных стен, чтобы не увеличивать в значительной мере разницу температур поверхности пола и окружающей среды , что характерно для этого типа укладки
улитка, применяемой в большинстве случаев, так как при этом достигается более равномерное распределение температур (подающая труба укладывается рядом с возвратной), что упрощает работу по укладке, так как при этом требуется сделать только два поворота на 180°: благодаря параллельной укладке труб
- при напольном отоплении распределение тепла в комнате с точки зрения физиологии близко к идеальному. "Держи голову в холоде, а ноги в тепле". Впрочем, эта старая поговорка не совсем корректно описывает график распределения температуры по высоте помещения
- бoльшая часть тепла (до 70%) передается излучением, благодаря чему воспринимается более комфортно;
- экономия тепловой энергии - в жилых зданиях 20-30%, в помещениях с высокими потолками (высотой от трех метров) до 50% и выше;
- отсутствие традиционных отопительных приборов позволяет более эффективно использовать жилую площадь;
- отсутствие конвективных потоков приводит к уменьшению количества пыли в воздухе обогреваемого помещения;
- из-за низкой температуры теплоносителя, это примерно 25-50°С, теплые полы являются низкотемпературной системой, исключающей возникновение положительной ионизации воздуха.
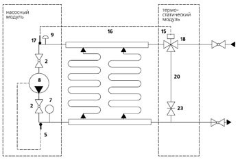
- На практике применяются следующие способы подключения систем теплых полов
- непосредственно от теплогенератора (котла) через смесительно=регулировочный узел;
- от системы радиаторного отопления через теплообменник с созданием собственного контура;
- от контура горячего водоснабжения через термостатический узел;
- от обратного трубопровода системы радиаторного отопления через термостатический узел ( данный способ пока не утвержден российскими строительными нормами).
По сравнению с раскладкой «змейкой» второй вариант дает 10=15% экономии в количестве трубы и значительно выигрывает по гидравлическим характеристикам из-за малого количества «калачей».
Конструирование систем водяных теплых полов не представляет особой трудности, если применяются комплексные решения.
Компания “VALTEC” предлагает простое комплексное решение для распределения теплоносителя, регулирования теплоотдачи и управления степени нагрева элементов, находящихся в полу помещений. Важнейшим элементом комплексного решения являются распределительные системы VT.DUAL (DUALMIX) и VT.COMBI (COMBIMIX) . Системы VT.DUAL (DUALMIX) и VT.COMBI (COMBIMIX) решат для проектировщика, монтажника и пользователя все проблемы, связанные с отоплением помещений, как радиаторами так и “теплым полом”.
Распределительная система на базе узла VT.COMBI (COMBIMIX)
![]() | ![]() |
Распределительная система на базе узла VT.DUAL (DUALMIX)
![]() | ![]() |
Основные части комплексного решения для систем теплый пол
VT.COMBI (COMBIMIX)![]() | VT.DUAL (DUALMIX)![]() | VT.594.EMNX![]() | VT.596.EMNX![]() | VT.4420.NE![]() |
© Правообладатель ООО «Веста Регионы», 2010
Все авторские права защищены. При копировании статьи ссылка на правообладателя
и/или на сайт www.valtec.ru обязательна.








